Search
Menu
Special Pages
Login
No picture available
Connect a picture (already uploaded)
Add a new picture

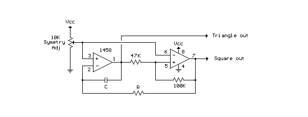
Simple function generator using 1458

Function generator

Courtesy/Thanks to: ?

Description: Another very simple function generator, with a symetry adjust.

Comments

You need to be logged in to add a comment.

Editing and adding
You need to be logged in to edit and add files and urls etc.
Categories & Tags
Popular tags for this:


You must be logged in to add tags.

Inventory & Trading

You need to be logged in to administer your inventory

No one is selling this product at this time.

Files
funct.gif
   Schematics for a simple function generator using 1458
Parts used
LM1458
   Dual Operational Amplifier
Similar on Ebay